级进模工艺设置规范
1、线型、图层设置要求
1.1线型设置,见表1:
表 1
线型 | 对应信息 |
细实线(Thin Width Solid) ![]() | 1. 所有片体 2. 定位孔标记、定位块标记 |
标准实线(Normal Width Solid) ![]() | 1. 料厚指示线 2. 主冲压坐标线、辅助冲压坐标线 3. 排样图中坐标线 |
粗实线(Thick Width Solid) ![]() | 1. CH孔、CH方向线 2. 左标记、“L”和“ R” 标识 3. 凸模轮廓线 4. 破裂刀线 5. 切角线 6. 截料线 7. 切边线、孔形状线、废料刀 8. 到底标记 9. 排样图中首个落料、冲孔线 |
标准虚线(Normal Width Dashed) ![]() | 1. 排样图中其余的坐标线 |
粗虚线(Thick Width Dashed) ![]() | 1. CAE轮廓线 2. 分模线 |
标准中心线(Normal Width Centerline) ![]() | 1. 车身坐标线 2. 孔对称轴 |
粗双点划线(Normal Width Phantom) ![]() | 1. 坯料线 |
1.2 图层设置,见表2:
表 2
占用图层 | 图层名称 | 放置工艺信息 | |
1层 | PART | 1.最新版产品数模(片体,细实线) 2.料厚指示线(标准实线) | |
10层 | WCS | OP10冲压坐标系(标准实线) | |
11层 | FACE | 排样料带(标准细实线) | |
12层 | LINE | 1. 凸模轮廓线(粗实线) 2. 破裂刀线(粗实线) 3. 左右标记L”和“ R”(大写字母,粗实线),50mm方向线(粗实线) 4. 切角、切口线(粗实线) 5. 分模线(粗虚线) 6. 浮料高度指示线(标准实线,30号字体) 7. 浮料位置指示线(方形细虚线) 8. 冲裁力、成型力及压退料力指示(标准实线,20号字体) 9. 误检销指示线 10.组板板轮廓线(细虚线) 11.下模刀口轮廓线(粗实线) 12.送料初始线 13.冲裁力、成型力及压退料力指示(准点化线及实线) | |
15层 | TOOL | 翻边模口(凸凹模、压料块及托料块体) | |
16层 | THICK | 加料厚的排样料带(标准细实线) | |
251层 | OLD PART | 上一版产品数模(当有产品更改时,作比较用)A | |
256层 | DELE | 垃圾层(垃圾信息尽量没有) | |
1.3 工艺数模与图层信息说明:
1.3.1 第1层只放置产品片体数模和料厚指示线,并且只能位于车身坐标位置,其余信息
一律删除。片体须缝合,料厚指示线长度为料厚的100倍,直线方向为料厚方向。若产品数模为实体时,要提取内(外)表面片体缝合,并画出料厚指示线。
1.3.2 平移至数模中心的车身坐标系的坐标长度Z=1/2X=1/2Y(Z优选25或50mm)。
1.3.3 排样的料带宽度与进距尺寸必须是整数。坯料边界分别与X、Y轴平行,进料方向
指向X的正方向;排样的料带除最后的废料及产品外必须是缝合的片体,缝合后中间
不能有间隙。
1.3.4 排样中的切边线必须是分段的直线和圆弧线组成(不能合并),不能有重合线。
1.3.5 以上所指示各层全显时只能留有相关工艺信息,不允许有垃圾信息,所有垃圾信息
如无法删除一律移入垃圾层。(尤其注意在产品更/时,及时清理层背面的垃圾信息)
1.3.6 最终的工艺数模文件,需将参数去除,垃圾层的信息尽量没有,在建模(Modeling)
状态下,以1层为工作层,绝对坐标为工作坐标,并将UG文件属性更改为只读。
1.3.7 工艺数模/名规则:
a) 一个件:管理号-车型代码-零件号-数模版本号-Y0
示例1: 9003-F3-5101111-B0-Y0.prt
b) 左右件:管理号-车型代码-零件号左件-右件-数模版本号-Y0
示例2:左右对称件开两套模:
左件:9003L-F3-5101111-B0-Y0.prt
右件:9003R-F3-5101112-B0-Y0.prt
示例3:左右对称件开一套模:
9003-F3-510111-12-B0B0-Y0.prt
c)非左右件:管理号-车型代码-零件号-零件号-数模版本号-Y0
示例4:9003-F3-5101111-12-B0B0-Y0.prt
1.4 颜色设置(可按照甲方提供色卡进行设计),见表3:
表 3
工艺数模信息 | BYD颜色号 |
1层最新版产品数l及11层最终产品 | 单件/左件2号 右件3号 |
10层冲压坐标系 | 2号 |
11层排样料带(除最终产品及最终废料) | 5号 |
11层最终废料片体 | 1号 |
11层成型区域 | 8号 |
12层切角、切口线 | 6号 |
12层组板轮廓线、下模刀口轮廓线、送料初始线、浮料位置指示线 | 1号 |
12层分模线、浮料高度指示线 | 2号 |
15层翻边模口(凸凹模、压料块及托料块实体)、16层加料厚的排样料带 | 7号 |
1.5 工艺数模背景设置为黑色。
设置方法<ug文件-首选项-调色板-背景。<="" p="">
2 冲压坐标表示方法规定
2.1 主冲压坐标系的表示方法
2.1.1 主冲压坐标系的位置:坐标线原点位置为11层料带首个导正销孔的圆心位置。
2.1.2 主冲压坐标系的表示方法:在三维造型中,分别用三根相同颜色的直线段表示X,Y,Z轴,且规定Z=1/2X=1/2Y。
2.1.3 其中X轴正向为送料方向,Z轴负向为冲压方向。
2.2 辅助冲压坐标系的表示方法
2.2.1 辅助冲压坐标系就是侧切边、侧冲孔、侧翻边、侧整形的冲压坐标系。
2.2.2 辅助冲压坐标系的表示方法:在三维造型中,也用三根颜色与同一工序主冲压坐标系相同的直线段表示X,Y,Z轴,且规定Z=2X=2Y,此冲压线放置于12层。其XY平面为侧冲的正平面,其Z轴正向与侧冲的斜楔工作方向相反。
3、工艺设计注意事项
3.1 侧刃要求:
3.1.1模具需加一侧刃用于送料带的初定位(单侧刃方式),工艺设计时应尽量用产品自身缺口作侧刃双用。
3.2 压机及送料机参数要求,洌ǜ郊-5)。
3.2.1 料带开卷宽度公差±0.3mm;导料板也要按照以上的公差设计。
3.3 出件方式:
3.3.1 废料直落,产品从模具右端出。(优先选择此出件方式)
3.3.2 废料与产品同时从模具右涑觥#ù耸庇ο氚旆ㄊ共品与废料区分开)(当废料与产品大小相近时不宜采用此方式);
3.3.3 当产品从料带上分离后,须保证产品顺利推出。
3.4 搭边取值:
3.4.1料带搭边设计:搭边值可根据制件材料厚度t,排样上的步銩和条料宽度B的值来确定,详见图6、表2:

图 6
表 2
A | 6-8mm |
B | 6-8mm |
注:特殊情况下A值可做到10mm
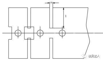
3.4.2 切槽主要<切出制件局部外形,为了保证外形的质量,要考虑适量的搭边尺寸a值、s值,见图7、图8、表3、表4:

图 7
< 3
料厚t | a值 |
t<1.2 | 1.5mm |
1.2≤t<1.5 | 1.5-2.0mm |
t≥1.5 | 2.0mm |
表中a值为优选值,特殊情况下a值可适当增加0.2-0.3mm

图 8
表 4
料厚t | 槽长l | 标准s | s的最小值 | s的最大值 |
t<2.5 | ≤80 | 3t | 4mm | 6mm |
t≥2.5 | ≤100 | 6mm | 8mm |

图 9
4、切边,冲孔工位工艺数模设置规定
4.1 基本设置
4.1.1 在三维造型中,对于切边、冲孔部位(包括侧切边、侧冲孔),需要提取实线加以表示。/有的线、点颜色应保持一致,轮廓线不可合并。
4.1.2 需删除切边和冲孔废料处的片体,并且后面工位也不得保留。
4.1.3 对于侧切侧冲部分,工艺人员需要按照2.2给出侧切侧冲的辅助冲压坐标系,该坐标为模具设计和NC加工人员的第二辅助基准。
4.2 工艺料带上孔尺寸的设置
4.2.1 对于料带上的产品孔,孔的尺寸都必须按GD&T或RPS公差要求而设定,冲孔尺寸=公称尺寸+(0.5—0.7)*公差带,精确到0.1。在斜面上冲孔时注意计算孔尺寸不超出公差范围。例如Φ12的孔,公差0/+0.2时凸模尺寸Φ12.1;公差0/+0.5时,凸模尺寸Φ12.3。
4.2.2 对于冲导正销孔的尺寸选择范围为:Φ6.1,Φ8.1,Φ10.1,Φ13.1,通常结合产品大小、料厚、带料方式、材料利用率等要求优选较大的尺寸。
4.2.3 确定导正销孔位置
a)在废料上冲导正销孔,或是将导正销孔放在连料上(优先选择);
b)利用产品的孔(建议少用产品本身孔,预防后期产品设变等)。
c)主要原则是不影响产品外观,保证定位精度,设置在合理位置,提高材料利用率。
4.2.4 分断:将制件与条料分离,图13、表5所示:

图 13
表 5
料宽B | 标准C | C的最小值 |
≤25 | 1.2t | 2.0 |
>25~50 | 1.5t | 3.0 |
>50~100 | 2t | 4.5 |
4.3 翻边,整形工序工艺数模设置规定
4.3.1 基本设置
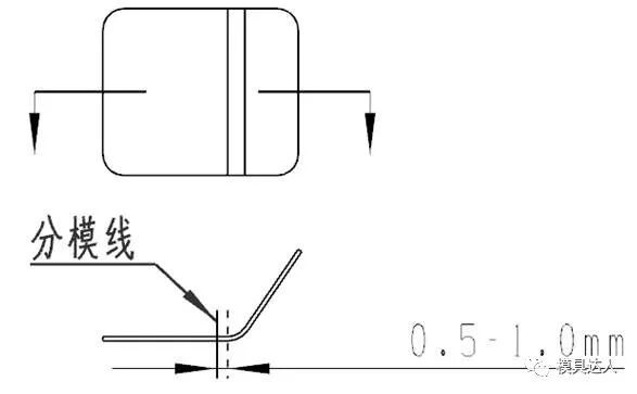
a) 在三维造型中,翻边,整形区域需要用不同颜色与非成形区域加以区分。
b) 用镶块来翻边、整形的,须在翻边、整形部位给出分模线(压/托料块和翻边、整形模块的分界线)。分模线须长出数模边界1-2mm。用压料块整形的不用给分模线。
c) 翻边凹模需要型非成型平面0.5-1mm,如下图示:

4.4 工艺模口设置
4.4.1 工艺模口的圆角一般为R2~R5,模口剩余直边为2-5mm。
4.4.2 所有翻边整形都要给翻整模口,模口存放到15层。
4.4.3 工艺给出模口的,模具设计必须按工艺所给模口进行设计。
4.4.4 翻边尽量一次做到位。
4.5 左右(L/R)标记设置
4.5.1 L/R标记用在内板件上或是外板件的非裸露部位,它主要用于冲压件的左右区分。4.5.2 L/R标记设置尽量靠后。其孔位的X、Y坐标值应取整数,优选整5、整10,左右件标记孔中心沿法向做一条长50mm的直线恢毕叻较虼表了标记销的加工方向。
4.6 初始送料线设计
4.6.1 初始送料线的作用:
a)提示操作人员确定合适送料位置,保护模具零件(避免切边凸模切半边,成形时如果出现压半边料易损坏成形凸凹模)。
b) 提高首件利用率。
c) 设置初始送料线时近量不要让小废料留在模具中(不可避免时需注明),以免操作人员疏忽导致叠料,损坏模具。
4.6.2设置初始送料线注意事项如下:
a)注意事项:离切边凸模0.2-0.5mm之间,可避免切单边现象,同时也不会影响首件
的使用。

b)注意事项: 如按常规采用侧刃粉色线做初始送料位置,会出现下图紫色区域有小废料留在模内,当操作人员不注意清理则会叠料而导致损坏模具。因此采用黄色线作为初始送料位置较为合适。

4.7 工艺数模输出模板示例:
